武汉市奥普软件工程有限公司
首页
企业简介
产品大全
联系我们
企业信息
访客留言
PRODUCT
产品大全
携手共建,智造未来 同创依诺与远大方略科技启动数字化工厂MES系统项目
查看详情
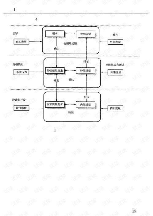
软件工程第八章 CMMI能力成熟度模型集成——提升组织效能的核心框架
查看详情
《软件服务工程》课程总结 迈向现代软件工程的实践与思考
查看详情
UG 4.0软件在模具字码标识NC编程中的工程化应用
查看详情
25家软件工程技术中心赋能,助力威海企业开拓市场新蓝海
查看详情
软件工程师的就业机制与行业人才画像
查看详情
软件工程专业 就业率异军突起的背后
查看详情
代码中的软件工程 从Auto.js脚本到日常协作的启示
查看详情
宝马工程师版软件 汽车工程与数字化创新的深度融合
查看详情
数字化工厂 软件工程视角下的现代制造范式变革
查看详情
感受智能制造的力量 专访希捷全球运营、产品和技术执行副总裁Jeffrey D. Nygaard
查看详情
从黄瓜生长周期看软件工程的启示
查看详情
四川软件职业学院软件工程专业解析
查看详情
《软件工程项目化教程》 高职高专软件专业的实践指南与教学资源
查看详情
鹏业软件锁与西南石油清单预算软件在软件工程中的应用与影响
查看详情
Java软件工程师简历模板与撰写指南
查看详情
软件工程 构建高质量软件的基石
查看详情
软件工程基础第二次作业 全面理解软件工程
查看详情
UML在软件工程组织中的作用与应用
查看详情
从软件工程角度看大前端技术栈的发展与挑战
查看详情
如若转载,请注明出处:http://www.whupsoft.com/product/list-2.html
第一页
上一页
1
2
3
4
5
下一页